Ima nade za Wankel motor
Rotacioni motor ipak živi!
Doduše, praktično će poslužiti kao sredstvo za punjenje baterije, ali nije li to sjajno rešenje za „plug-in“ hibride?
Čini se da Mazda ipak nije spremna da sahrani Wankel motor, bar ne u potpunosti. Međutim, pre jednog kolektivnog „ura!“ ljubitelja ovog agregata, treba naglasiti da se buduća aplikacija odnosi na hibridne, ne i sportske modele.
Na internet je „procurelo“ par patentiranih primena koje je Mazda nedavno zaštitila, a u oba slučaja je reč o rešenju koje podrazumeva proširivanje vozne autonomije za elektro modele. Prvi patent je prilično nebitan dok je drugi veoma interesantan.

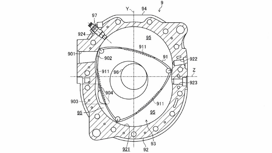
Naime, on govori o start/stop sistemu za rotacioni motor, koji precizno kontroliše vreme gašenja agregata tokom operativnog ciklusa. Takav dizajn bi bez dileme poboljšao ekonomičnost, u isto vreme redukujući emisiju štetnih gasova, pod uslovom da rotacioni motor obavlja svoj zadatak pouzdano. U drugi patent je takođe uključena hibridna konfiguracija, odnosno postavka koja uključuje produžavanje autonomije, sugerišući da start/stop sistem za rotacioni motor ne bi bio korišćen samo u benzinskoj verziji.

Ovo nije prvi put da je Mazda razmišlja o uparivanju hibridne tehnologije sa Wankel motorom. Pre nekoliko godina, kompanija je obelodanila Mazda2 plug-in hybrid, koji je koristio mali rotacioni agregat kao proširivač autonomije. Ovaj koncept je dočekan sa velikom pompom da bi jednostavno nestao. Po najnovijim izveštajima, japanska marka planira da lansira električno vozilo 2019., tako da je moguće da smo svedoci narednog koraka u toj evoluciji.
Kao visokoperformantan motor, Wankel je oduvek izazivao oprečne stavove. Njegovi ljubitelji se dive uglađenom radu i kompaktnim dimenzijama u odnosu na snagu koju isporučuje. „Hejteri“ ističu odsustvo obrtnog momenta, veliku potrošnju goriva, obimne zahteve kada je reč o održavanju i ne baš sjajnu pouzdanost.
Start/stop aplikacija rotacionog motara za hibride ne bi imala problem sa štedljivošću i nedostatkom obrtnog momenta. Očigledno je da u ovom slučaju mala masa i kompaktni gabariti znače veliku prednost, tako da jedini problemi koji treba da se reše se odnose na stepen održavanja i pouzdanost.
Budućnost možda nije svetla za Wankel motor kada govorimo o performantnim modelima, ali ukoliko Mazda nastavi sa razvojem ovog koncepta, rotacioni motor bi ipak mogao da ostane u životu.
(306)