BMW patentirao preklopivi volan
Na osnovu objave slika na jednom od foruma (BMWX2) koji okuplja brojne ljubitelje vozila bavarske marke, a koje pokazuju tehnička rešenja za koja se tvrdi da su predmet registracije, od strane kompanije, u smislu zaštite intelektualne svojine, krenula su nagađanja o nameni i mogućoj komercijalizaciji.
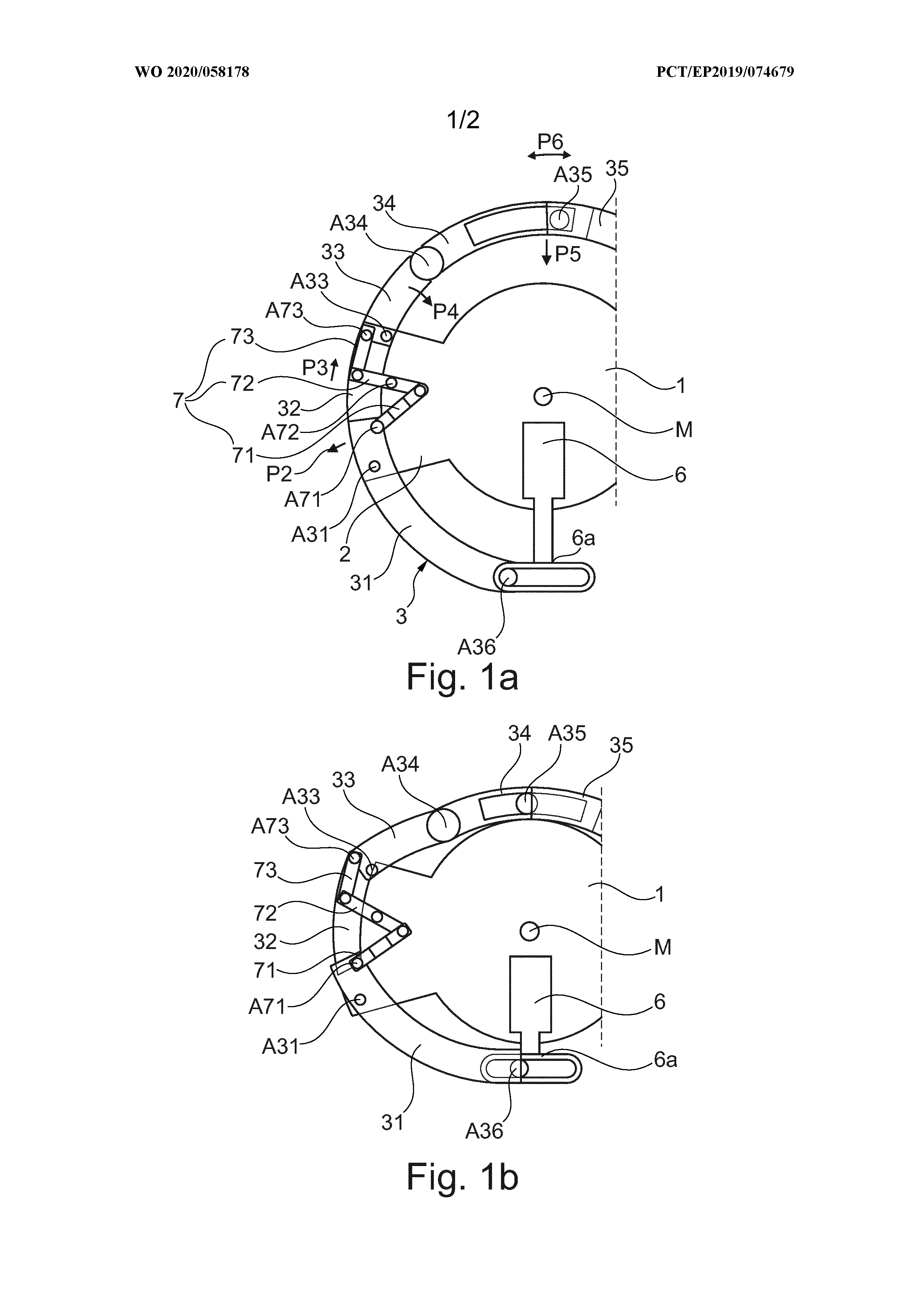
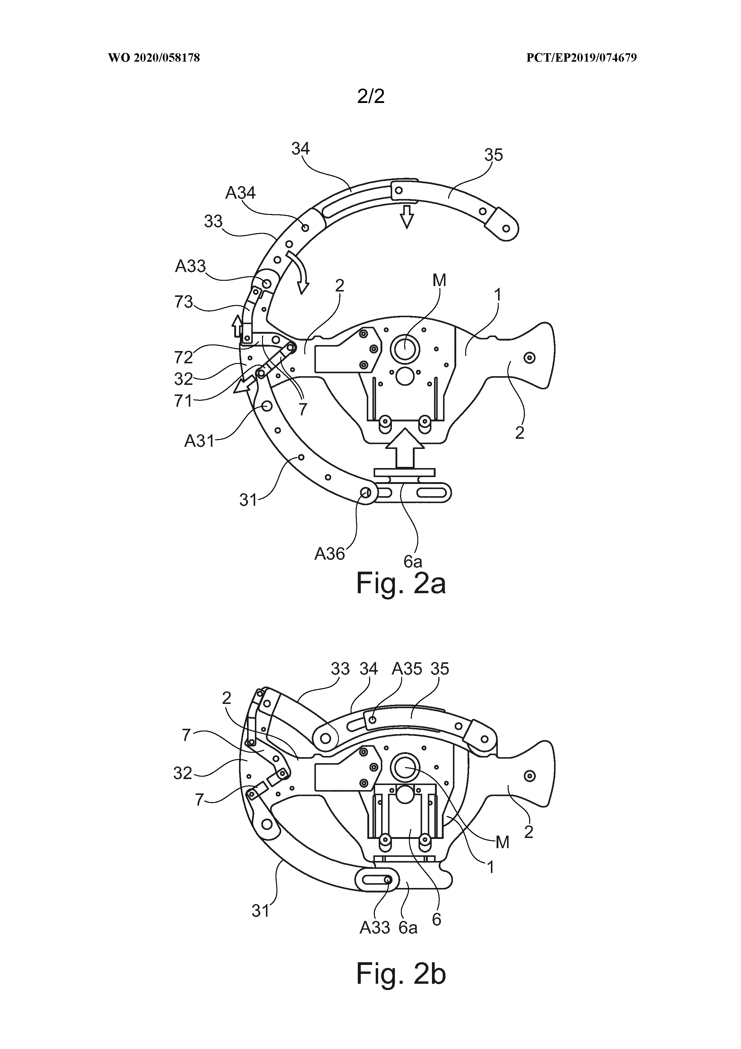
Na ilustracijama se jasno vide konture obruča upravljača, i to kada je u uobičajenom, nazovimo ga komfronom stanju (po standardnom režimu vožnje Comfort), dok se na drugom patentnom crtežu vidi kako volan izgleda kada kolabira, odnosno kada se preklopi, što će verovatno biti dobrodošla opcija u autonomnom režimu kretanja.

Osnovna zamisao verovatno ide u smeru obezbeđivanja dodatnog prostora za kolena vozača, u situacijama u kojima vozač autonomnog Bavarca odustane od upravljanja vozilom i kontrolu prepusti brojnim senzorima, lidarima, kamerama i ostalom „tucetu tehnoloških pomagala“.
Jasno, ne postoji nikakva garancija u pogledu mogućnosti razvoja samovozećih četvorotočkaša, a kamoli u smislu upotrebe patentiranog tehničkog rešenja. Jednostavno, običaj proizvođača je da „za svaki slučaj“ zaštiti svoj pronalazak, bez obzira hoće li ikada biti priveden komercijalizaciji.
Uredništvo pomenutog foruma je spekulisalo i sa mogućnošću da BMW upotrebi volan, tačnije oblik obruča upravljača, kao inicijalni i najbrži indikator nekog obaveštenja koje vozač uobičajeno prima putem glasovne ili vizuelne komunikacije sistema sistencije koji su mu na raspolaganju.

Iz BMW-a o svemu ovome ćute. Nisu želeli da potvrde ni postojanje aplikacije za zaštitu intelektualne svojine, a kamoli da govore o eventualnom uvođenju u serijsku proizvodnju.
Bavarce ne treba kriviti zbog toga. Krajnje je neizvesno da li će, i eventualno kada će autonomna vozila na svetske drumove. To najranije može biti za deset ili dvadeset godina, prema oceni relevantnih stručnjaka, i to u slučaju da privreda ne nazaduje previše zahvaljujući aktuelnoj zarazi.
AutoRepublika
(846)