Porsche razvija novi motor W12
U eri smanjenja emisije CO₂ činilo se da za W12 više nema mesta u budućnosti. Međutim, pojavila se nova, vrlo zanimljiva patentna prijava koja vraća nadu ljubiteljima klasičnih motora.
Delovalo je da su motori W12 zauvek ostali deo prošlosti, otkako je Bentley prekinuo proizvodnju slavnog šestolitarskog W12 agregata posle više od dve decenije, a poslednji ga je koristio ultraekskluzivni Mulliner Batur. Dok su se inženjeri iz Crewea prebacili na V8 biturbo uparen s elektromotorom, neko drugi je u tišini radio na konstrukciji novog agregata W12.

Nije samo W12 na ivici nestanka — i motori V12, među kojima su neki od najslavnijih i najupečatljivijih ikada proizvedenih (poput Cosworthovog V12 iz Aston Martina Valkyrieja), polako odlaze u istoriju. Ipak, sada je objavljena patentna prijava za novi motor W12 s, kako se navodi, „nimalo trivijalnim unapređenjima“.
Ko stoji iza novog patenta? Odgovor je — Porsche. Brend koji i dalje čvrsto čuva svoju inženjersku čistotu. Izgleda da se Volkswagen Grupa ne odriče lako jednog od svojih najsnažnijih simbola proteklih dvadeset godina. Ipak, prerano je reći da li će ovaj W12 ikada ući u serijsku proizvodnju.

Dizajn se zasniva na tri reda cilindara, što mu daje prepoznatljiv W raspored i omogućava da ostane kompaktan. To ga razlikuje od starog W12 iz grupe Volkswagen, koji je nastao spajanjem dva motora VR6, koncepta koji datira još iz slavnih devedesetih.
Jedan od najzanimljivijih detalja patenta jeste mogućnost ugradnje do tri turbopunjača ili kompresora, čime bi se dodatno povećala snaga. Porsche je već poznat po originalnim pristupima — primer za to je novi sistem T-Hybrid u modelu Carrera GTS, gde je električni motor integrisan unutar turbine.
Koliku bi snagu ovaj motor mogao da razvije? Referentna tačka je 6.0 W12 biturbo koji je Bentley koristio u modelu Mulliner Batur, sa 740 KS i 1.000 Nm obrtnog momenta. Taj motor je tokom godina stalno unapređivan i predstavljao je tehnološki vrhunac svog vremena.
Najmoćniji Porsche s motorom SUS do sada bio je 918 Spyder iz 2014. godine, sa 4,6-litarskim agregatom V8 uparenim s dva elektromotora, ukupne snage 875 KS. Novi 911 (992.2) Turbo S, predstavljen u septembru 2024, nudi 711 KS, što je i dalje niže od hibridnog hiperautomobila.
Naravno, električni Taycan Turbo S i Taycan Turbo GT daleko premašuju te brojke sa 938 i 1.019 KS. Ostaje pitanje — da li Porsche planira da nadmaši sopstvene električne modele pomoću novog turbo motora W12, što bi objasnio i razlog registracije ovog patenta.

Iako Porsche najviše povezujemo sa šestocilindričnim bokser motorima iz modela 911, ovaj proizvođač nije nesklon ni dvanaestocilindričnim agregatima. U istoriji brenda nalazi se i jedan od najlegendarnijih trkačkih motora svih vremena — Porsche 912, koji je pokretao čuveni Porsche 917, pobednika 24 sata Le Mana 1971. godine, ovekovečenog i u filmu Le Mans sa Stivom Mekvinom.
Taj motor je razvijao 630 KS iz zapremine 5 litara, dok je turbo verzija 917/30 za američku seriju Can-Am dostizala neverovatnih 1.100 KS — još 1973. godine!
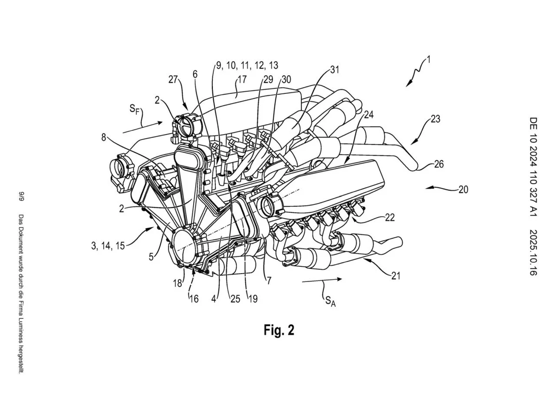
Porsche u prijavi patenta za novi W12 navodi i tehničke crteže, otkrivajući da svaka glava cilindra ima sopstveni usisni i izduvni kolektor.

Reč je o vrlo složenom projektu — i to s razlogom. Porsche ovim patentom ne želi samo da sačuva koncept W12, već i da registruje rešenja koja smanjuju gubitke energije zbog trenja u motorima s unutrašnjim sagorevanjem. I upravo bi ta inovacija, možda čak više od samog W12, mogla da bude ključna za budućnost benzinskih motora.
AutoRepublika
(221)


Slab je to patent. Ovde očigledno slovo pokazuje konfiguraciju a broj, broj cilindara motora.
Kad budu napravili Ћ17 motor nek se onda jave.
Ovo je patentni crtez novog motora, jasno se vide tri reda cilindara. Velika prednost novog W12 (3 x 4) u odnosu na stari (4 x 3) sastoji se u tome sto izmedju redova cilindara postoji veliki prostor, cime se omogucava perfektno hladjenje cilindara. Prvi W12 dugo nije mogao da izadje iz laboratorije jer su cilindri bili preblizu jedan drugom i nije bilo dovoljno mesta za kanale sa vodom.
Hvala Matija za ovaj patentni crtež.
Kad jutros videh samo naslov članka, pomislih da je slovna greška ( da treba V umesto W ), ali, čitajući tekst shvatih da nije.
Tvoj crtež sve čini mnogo jasnijim.
Ni meni nije bilo jasno na prvi pogled o cemu se radi. 🙂
U internetu ima dosta slika.
Da bi se napravila razlika izmedju starog i novog motora trebalo bi primeniti sledece oznake:
– stari, cetiri reda cilindara po tri u redu, oznaka “ VV12″
– novi, tri reda cilindara po cetiri u redu, oznaka „W12“.
zar ovde nije prikazno 3x 6 rednih klipova u w18 formatu
I meni tako izgleda, barem ako prebrojim bobine.
Opet na fotografijama iz teksta nisam uspeo da izbrojim tri reda cilindara.
https://carbuzz.com/porsche-w-engine-patent/ ovde je bolje objašnjenjo
Mazda je svojevremeno ispitivala w12 motor u slicnoj konfiguraciji kad je htjela da lansira luksuznu marku Amati.Neko je ranije o tome pisao na temu „Istorija“.
Totalna zabuna! Na ovoj slici vide se tri reda cilindara, svaki sa po 6 cilindara. Pri trazenju odgovarajuce slike za novi W12 uhvatio sam motor sa 18 cilindara! Razlog – gugl ne razlikuje ova dva motora! Molim auditorijum za izvinjenje! 🙂
Ne razumijem šta mu trebaju toliki cilindri u modernoj eri lada se iz daleko manje cilindara izvlači ogromna snaga…
Da se vlasnik hvali kako ima veliki broj cilindara? Ja drugi razlog ne vidim