Stellantisovi električni modeli će dobiti izduvni sistem
Koncern Stellantis je u SAD prijavio neobičan patent – auspuh za električne automobile, ali ne za klasične zvukove motora s unutrašnjim sagorevanjem.
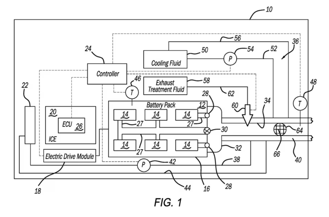
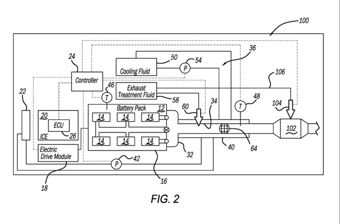
Do sada smo izduvne sisteme poznavali samo kod konvencionalnih vozila sa motorima SUS. Međutim, Stellantis očigledno smatra da i električni automobili u određenim okolnostima mogu proizvoditi gasove i da im je potreban izduvni sistem. Zbog toga je ovaj automobilski gigant podneo patent pod nazivom „Izduvni sistemi za električne automobile“, koji je 16. januara 2025. godine objavio Američki zavod za patente i žigove (US Patent and Trademark Office – USPTO).

Stellantis u portfoliju ima brendove kao što su Citroën, Fiat, Opel, Vauxhall, Peugeot, Abarth, Ram, Dodge, Chrysler, Jeep, Lancia, DS Automobiles, Alfa Romeo i Maserati. Većina ovih marki već nudi električne automobile u različitim segmentima, ali nijedno od ovih vozila do sada nije imalo skriven auspuh ispod zadnjeg branika. Zašto onda sav taj trud?
U višestraničnom patentnom dokumentu Stellantis objašnjava da, ukoliko baterije pretrpe ozbiljan sudar ili veliko oštećenje i pregreju se – ili, kako se to stručno naziva, dožive „toplotni beg“ (thermal runaway) – mogu osloboditi zapaljive gasove. Ti gasovi mogu sadržati vodonik i ugljovodonike poput metana, etana, etilena, acetilena, propana i butana, koji se na visokim temperaturama mogu zapaliti.

Prema Stellantisu, ovakva požarna opasnost može se sprečiti ako se ovi gasovi brzo uklone iz baterijskog paketa i usmere kroz poseban sistem izduvnih cevi. U modularnim Stellantisovim platformama STLA već postoji dovoljno prostora za takve cevi i odvode.
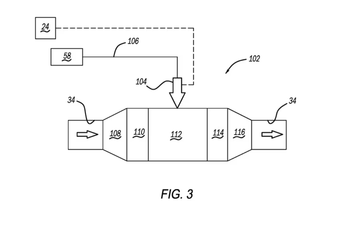
Kako bi se sprečilo da se zapaljivi gasovi zapale iza vozila, Stellantis predlaže njihovu hemijsku konverziju pre ispuštanja u atmosferu. Ova metoda podseća na katalizatore kod klasičnih motora. U prijavi patenta navodi se:
„U izduvnom sistemu baterije gasovi prolaze kroz niz zona za obradu, gde se gasni tok hemijski tretira kako bi se eliminisao ili barem smanjio udeo kritičnih hemijskih komponenti“.

Generalno se električna vozila smatraju sigurnim. Po nekoj statistici, kod njih dolazi do požara znatno ređe nego kod automobila s motorima s unutrašnjim sagorevanjem. Pored toga, njihove baterije su pod strogim nadzorom elektronskih sistema za upravljanje baterijama. One su hermetički zatvorene, imaju sisteme tečnog hlađenja i upravljaju se na nivou modula ili ćelija kako bi se čak i malo verovatni kvarovi brzo izolovali. Bez obzira na to, dešavalo se da cela serija modela bude defektna i pod rizikom od požara, a dešavalo se i da celo plovilo izgori tranportujući elektrifikovane modele…
Ovaj patent se, dakle, odnosi samo na slučajeve, u kojima bi izduvni sistem dodatno povećao bezbednost putnika.
AutoRepublika
(2972)
Problem sa zapaljivanjem baterija mora da se reši, jer je bruka i sramota da se dešava, prenosi požar na susedna vozila ili nekretnine. Zabranjeni su ili nepoželji u podzemnim garažama itd. Verujem da će se taj sadašnji nedostatak baterija rešiti i biti samo u sećanjima. Početak razvoja baterija.
Po nekoj drugoj statistici, broj pozara kod gorivnih i elektricnih vozila je priblizno jednak ali su posledice pozara elektricnih katastrofalne! Setite se da je izgoreo brod sa hiljadama luksuznih automobila samo zbog jednog elektricnog. Problem je sto baterija gori bez kiseonika iz vazduha tako da ju je nemoguce ugasiti.
Auspuh za otrovne i zapaljive gasove kod ECO-ZELENIH automobila !
Ovaj patent (deo el auta)ce da kosta bar jos 1000€, razvojem ce da osmisle nesko kao DPF, koji ce da hvata te otrove i da kosta do 5000€, pa neka super tecnost kao AD-BLUE, pa……