Kawasaki vraća dvotaktne motore
Kawasaki je podneo patent za novi dvotaktni motor. Ovaj motor ima turbo punjač, direktno ubrizgavanje goriva i usisne ventile. U januaru 2025. Kawasaki je objavio zvučni tizer (na dnu stranice).

Dvotaktna senzacija iz Kawasakija
Krajem januara 2025. Kawasaki je na Instagramu objavio tizer sa sloganom „Čuli smo vas“, nagoveštavajući povratak dvotaktnog motora. Još uvek nije jasno da li se to odnosi na novi patent ili na klasični dvotaktni motor. Međutim, karakterističan zvuk testere u videu (pogledajte ispod) sugeriše da se radi o konstrukciji sa predkompresijom u kućištu radilice.
Reakcije zajednice, posebno u „off-road“ orijentisanim krugovima u SAD, kreću se od entuzijastičnog oduševljenja do nostalgičnog veličanja starog pravog motora. Među komentarima se istakao jedan korisnik koji je izjavio da je od Trampa očekivao svašta, ali ovo ne!
Koji model će Kawasaki predstaviti sa dvotaktnim motorom?
Za početak, Kawasaki i dalje proizvodi dvotaktne motocikle – konkretno, krosere od 65 i 110 „kubika“. Novi motor će verovatno biti deo ponude za „off-road“ motocikle, najverovatnije u klasi zapremine između 300 i 500 cm³, kao deo serija KLX i KLE, slično kao kod vodećeg proizvođača KTM-a. Očekuje se da će motocikl imati direktno ubrizgavanje goriva, različite programe vožnje i kontrolu proklizavanja.

Da li dvotaktni motor stiže već na leto 2025?
S obzirom na kontekst „off-road“ takmičenja, premijera novog motora ili modela mogla bi biti tempirana upravo za taj segment. U SAD, nova sezona motokros takmičenja počinje leti, što znači da proizvođači tada žele da predstave najnovije modele. Dakle, novi dvotaktni motor Kawasakija mogli bismo videti u akciji za samo 3 do 4 meseca.
Kako zapravo funkcioniše dvotaktni motor?
Za kraj, važno je razjasniti jednu stvar: dvotaktni motor se ne definiše brojem ventila ili njihovim postojanjem, niti načinom podmazivanja ili nekim drugim mehaničkim osobinama, poput predkompresije u kućištu radilice. Ključna razlika između dvotaktnog i četvorotaktnog motora leži u broju obrtaja radilice potrebnih za jedan puni ciklus. Kod dvotaktnog motora to je samo jedan obrt radilice, pri čemu klip prolazi kroz jedan gornji (OT) i jedan donji mrtvi položaj (UT) pre nego što dođe do paljenja i sagorevanja smeše.

„Multitasking“ kod dvotaktnog motora
Tokom samo jednog obrta radilice, sve faze rada moraju se odvijati istovremeno – usis sveže smeše, sabijanje, sagorevanje i izduvavanje gasova. Zbog toga se dva od ovih procesa u nekoj meri preklapaju, što znači da se izduvni gasovi i sveža smeša istovremeno nalaze u cilindru. Ova osobina dvotaktnih motora oduvek je predstavljala njihov nedostatak, jer dolazi do velikih gubitaka usled ispiranja – kada sveža smeša neiskorišćena izlazi kroz izduv. Upravo na tom problemu sada radi Kawasaki.
Inače, radni princip dvotaktnog motora ne zavisi od vrste goriva – dvotaktni motor može koristiti benzin, dizel, gas ili vodonik.
Kawasaki patentira novi dvotaktni motor sa turbo punjačem i ventilima
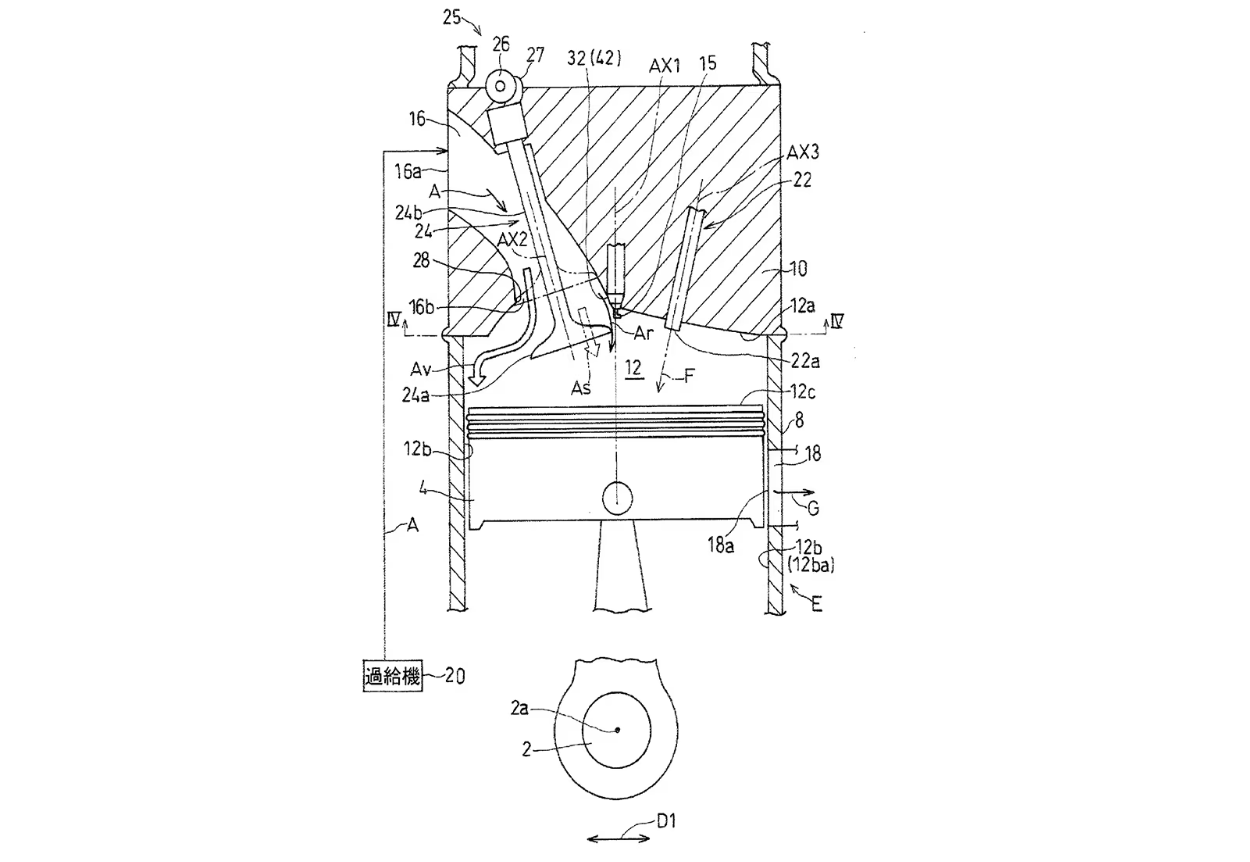
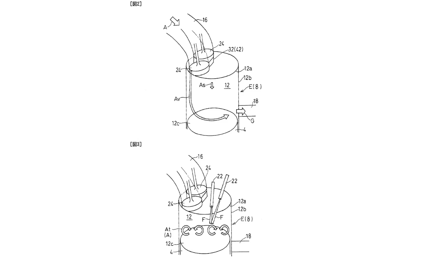
Kawasaki želi da zadrži prednosti dvotaktnih motora, ali bez velikih gubitaka usled ispiranja. Zato njihova konstrukcija koristi usisne ventile pokretane bregastim vratilom, sabijanje usisnog vazduha i direktno ubrizgavanje goriva. Posebno je direktno ubrizgavanje ključno u smanjenju gubitaka, jer turbo punjač ili kompresor kroz usisne ventile ubacuju samo vazduh. Taj nadpritisak istovremeno vrši predkompresiju i pomaže u izbacivanju izduvnih gasova iz cilindra na donjem mrtvom položaju (UT) klipa.

Motor sa siromašnom smešom, direktnim ubrizgavanjem i niskom potrošnjom
Tokom takta kompresije, klip dodatno sabija prethodno komprimovan vazduh na svom putu ka gornjem mrtvom položaju (OT), a Kawasaki ubrizgava benzin tek neposredno pre dolaska u OT, nakon čega sledi klasično paljenje pomoću svećice. Dok se klip kreće prema UT, sagoreli gasovi se šire i izlaze iz cilindra – i ceo ciklus se ponavlja. Dakle, kod dvotaktnog motora dolazi do paljenja prilikom svakog obrta radilice.
Međutim, kod direktnog ubrizgavanja može doći i do planiranog samozapaljenja. To znači da motor s unutrašnjim sagorevanjem može, pri određenim obrtajima i stepenu punjenja, raditi poput dizel motora – samozapaljenjem smeše. U svakom slučaju, ovaj motor je optimizovan za rad sa velikim viškom vazduha, što mu omogućava rad sa siromašnom smešom i smanjuje potrošnju goriva.

Prednosti dvotaktnih motora
Dvotaktni motori imaju jasne prednosti: paljenje pri svakom obrtu radilice omogućava miran rad i konstantan obrtni moment. U zavisnosti od toga kako će Kawasaki rešiti proces razmene gasova u novoj konstrukciji, sistem ventila mogao bi biti sveden na samo jedan usisni ventil.
Slični koncepti su ranije primenjivani kod dvotaktnih brodskih dizel motora, koji su imali samo jedan izduvni ventil. Takvo minimalno rešenje smanjuje unutrašnje trenje i povećava efikasnost motora. Klasični dvotaktni motori, koji koriste samo kanale ili otvore za razmenu gasova, teoretski imaju samo tri pokretna dela u motoru, što dodatno smanjuje kompleksnost i povećava pouzdanost.
AutoRepublika
(2245)
Prednosti direktnog ubrizgavanja kod dvotaktnih motora prvi je uvideo naš stručnjak iz Australije – Ralf Sarić. Time se ne gubi deo sveže smeše kroz izduvni kanal.
Ideja i sistem nisu ništa novo!
Tačno, još onomad u Australiji.
Zvao ga je Orbitalni motor beše… Imao je prototip ugrađen u Ford Fiestu, nekih 1200 kubika i 85 konja ako se dobro sećam.
Meni je sasvim dobar i kavasakijev četvorotaktni redni sa 4 klipa iz Z750.Uh kako bi legao u Zastavu 750.
Ovaj dvotaktni prave da legne u Trabija 😀
Za ficu samo “ cvaja“ iz Wartburga. Letilica. Problem da zakoci, ali leti kroz vasionu. Z 750, mada bi lego i zx 10, promeni 10 zvukova do 7000 obrtaja, sve preko dobijes kao extra nagradu
Sećam se njihove KH serije.
KH 750 je trošio lanac brže nego disk pločice.
Mach 500 , rd 350 ili 500 , nsr , rgv….dvotaktne legende. Miris spaljenog ulja i visoki obrtaji , zvuk!!!!!! To mogu samo dvotaktni motori
80ih ko je imao Castrol za cvaju, bio glavni Dasa, makar i u Apencu. Kako je to mirisalo, ko Marlboro iz Free shop-a
Baš!
Suter mmx 2t s 500 kubika ima 195 ks 😉