Stilisti nemačkog proizvođača luksuznih automobila zvanog BMW ne miruju. Na temelju, globalnom zavodu za zaštitu intelektualne svojine predatih patentnih crteža, zaključuje se da će preoblikovanje i modernizacija prednjeg kraja automobila ove marke podrazumevati, između ostalog, i jednodelnu ali veću rešetku hladnjaka koja će integrisati prednje svetlosne grupe i ostala savremena tehnološka rešenja današnjice.
Važna novina je i to što će moderna vizija nekadašnjih bubrega biti lišena rama, okvira, baš kako je to i ilustrovano na naslovnoj fotografiji (preuzetoj sa AutoExpressa), utemeljenoj na pomenutim skicama koje su predate na registraciju.

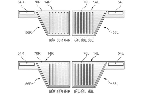
Uvid u predatu dokumentaciju donosi osnovanu pretpostavku da će pokrivni materijal panela moći da se transformiše iz neprovidnog u prozirni, zavisno od podešavanja. To bi značilo da farovi mogu biti elegantnog oblika i skriveni od očiju posmatrača kada su van funkcije. Ovo stoga što bi bili u ravni s maskom. Kada se aktiviraju, tada bi rešetka mogla postati providna, dozvoljavajući svetlu da prodire kroz istu. Pride, ovaj koncept bi omogućio implementaciju različitih svetlosnih potpisa.
Ovakvo tehnološko rešenje se naziva „tehnologijom koja omogućava prodor svetla“ a njena primena može da omogući i prikaz legendarnih bubrega BMW-a, baš onako kako je i dato na priloženoj slici.

Novo rešenje maske hladnjaka bi se moglo savršeno uklopiti s tehnologijom E-Ink koju je BMW predstavio uz koncept i Vision Dee na Sajmu potrošačke elektronike (CES) početkom meseca. Tako bi nova maska mogla da bude digitalni prikaz BMW-ovih dvostranih bubrega. Pride, znamo da elektromobili nemaju nikakvu realnu potrebu za hlađenjem onoga što je kod konvencionalnih vozila motorni prostor.
Jednostavni patentni crteži ukazuju na to do kog stepena bi ovaj panel mogao da se proširi kroz buduću paletu bavarske marke, i kakva bi sve obličja mogla da poprimi glavna rasveta na njuški vozila. Pride, predmet ispisa na rešetki bi mogao biti i status, stanje aktiviransoti sistema. Priloženi crteži daju alternativne prikaze na temu mogućih rešenja za dnevna svetla, ili pak drugih crteža, onako kako to opredeli proizvođač.
Na kraju je potrebno naglasiti da BMW užurbano stremi ka budućnosti i da prikazuje tehnološka rešenja koja u ovom trenutku deluju prilično udaljeno od komercijalizacije. Međutim, i svet se brzo kreće unapred pa je veoma moguće da brojne stavke iz patentnih crteža i konceptualnih, izložbenih automobila, uskoro vidimo i na serijski proizvedenim vozilima. Ne bi nas čudilo ni najmanje…
AutoRepublika
(1490)


Na prvu loptu bih rekao – kol’ka Škoda jbt.
Ništa više o novom dizajnu BMW-a. Izgubili su kompas.
„Super“ je ova maska za jedan kamion, recimo „Mack“, ali na putničkom automobilu, zaista nema šta da traži.BMW treba svoju masku da razvija horizontalno i da je integriše sa farovima.Ovako ne ide.Domagoju Đukecu i njegovom kompletnom dizajnerskom timu, noga iz BMW-a.Dosta su se „iživljavali“ nad ovom slavnom markom.Neka svoja čudovišta kreiraju u nekoj kompjuterskoj igrici.
Čudovišta proizvodi bmw i ona se prodaju. Toliko o kupcima.long live komrad dzukac, ovaj djukec!
Dali G.Nedeljković podržava ovaj pravac ??
Neka skinu znak BMWa, i neka daju da kupci pogađaju, 99% će reći je$eno ružan kinez, garant
BMW je resio da igra na sve ili nista – nova parola je „nas je najveci!“ Misli se na prednji gril. 🙂 Osim toga, dizajn koji je BMW patentirao vec je vidjen kod nekoliko svetskih proizvodjaca, jedina razlika jeste „razdeljak“ na sredini. U secanju mi je jedan americki model koji ima veoma slicnu masku sa „razdeljkom“ ali normalnih dimenzija. Yankee, pomozi nam da ga pronadjemo! Na donjoj slici je moja predpostavka kako ce izgledati sledeca generacija sedmice:
😅😂🤣
Ipak Domagoj još nije otišao kod Kineza.
To mogu samo majka i BMW da vole! 🙂
Kad malo pogledaš, visi se stilizovano slovo U, vjerovatno evocira dane zakedničke im istorije…