Patent otkriva tajnu Ducatijevog trkačkog menjača
Tehnologija preuzeta iz MotoGP-a na modelu Panigale V4 R mogla bi da se prenese i na serijske motocikle.
Ako niste obratli pažnju kada je još u septembru predstavljen Panigale V4 R za 2026. godinu, Ducatijev „superbajk“ u homologacionoj verziji, jedan od njegovih ključnih aduta je „Ducati Racing Gearbox“ (DRG), trkački menjač zasnovan na tehnologiji iz MotoGP-a. U većini slučajeva, izraz „tehnologija MotoGP“ je sinonim za „skupo“ i „komplikovano“, ali nova patentna prijava kompanije Ducati, koja se odnosi na sistem blokade neutralnog stepena prenosa u srcu DRG-a, pokazuje iznenađujuće jednostavno i isplativo rešenje. To sugeriše da bismo u budućnosti sličan sistem mogli da vidimo i na znatno pristupačnijim Ducatijevim uličnim modelima.

DRG odbacuje poznati obrazac menjanja brzina „dole za prvu, gore za ostale“, koji je praktično standard kod modernih motocikala. Umesto toga, koristi raspored sa neutralnim stepenom ispod prve brzine (ili iznad nje, ukoliko se poluga okrene za tzv. „GP-šemu“). Tako nastaje raspored N-1-2-3-4-5-6, koji ima za cilj da olakša prebacivanje u prvu brzinu prilikom usporavanja. Problem kod ovakvog rasporeda jeste mogućnost da vozač greškom ubaci u neutralni stepen tokom šaltanja naniže.
Ducatijevo rešenje naziva se Ducati Neutral Lock (DNL) i predstavlja varijaciju sistema koji je već standard u MotoGP-u, gde se gotovo svi motocikli koriste istim rasporedom brzina. Iako svaki proizvođač ima svoje tehničko rešenje, zajedničko im je to da blokada neutralnog stepena onemogućava njegovo slučajno ubacivanje, za to je potreban dodatni, svesni pokret. Kod Ducatija to znači pritiskanje polugice za palac na desnoj strani upravljača, uz istovremeno pritiskanje nožne poluge menjača.

Ono što Ducatijev sistem razlikuje od ostalih, barem prema dostupnim patentima, jeste njegova jednostavnost, niska cena i mali broj komponenti. Upravo te prednosti, zajedno sa činjenicom da je Ducati zaštitio rešenje patentom, nagoveštavaju da bi isti sistem u budućnosti mogao da se primeni na većem broju uličnih modela.
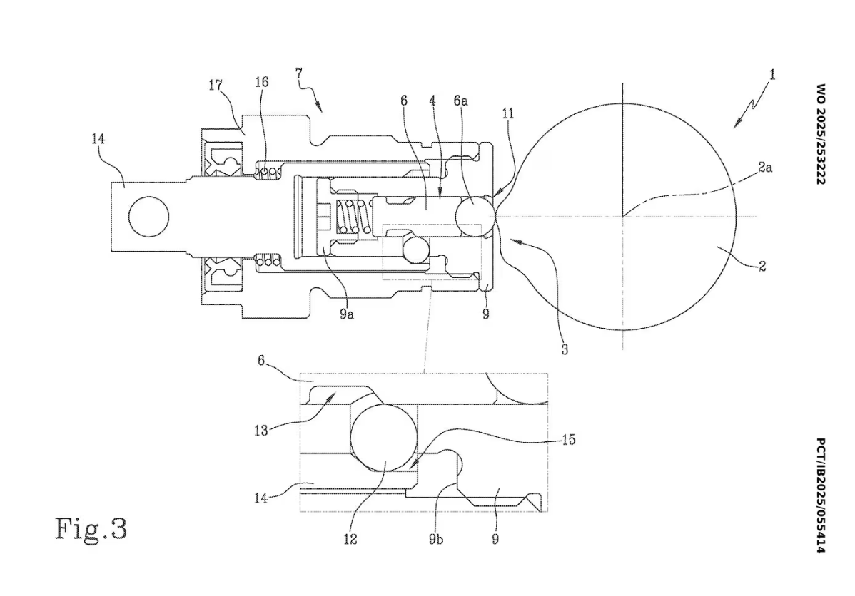
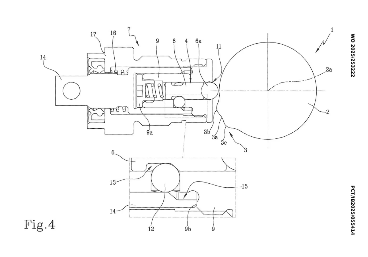
Sam menjač je prilično konvencionalan, osim rasporeda N-1-2-3-4-5-6. Međutim, na selektorskom bubnju nalazi se breg na koji naleže sistem blokade neutralnog stepena. Veći deo vremena taj breg ima kružni oblik, ali poseduje i izbočeni usek koji odgovara položaju neutralne brzine.

Sistem blokade sastoji se od klipa sa oprugom i kuglicom na vrhu, koja dodiruje površinu brega. Da bi se izabrao neutralni stepen, klip mora da se povuče unazad protiv sile opruge.
U normalnom stanju klip ne može da se pomera, jer su tri kuglice smeštene u cilindru u kojem se nalazi klip uvučene u uži, suženi deo klipa i tako ga blokiraju. Kada vozač pritisne palčanu polugu na desnoj strani upravljača, spoljašnja čaura oko cilindra se povlači, čime se omogućava da se tri blokirajuće kuglice blago pomere ka spolja. Time se klip oslobađa i izbočeni deo brega na bubnju može da ga potisne unazad protiv opruge, čime se omogućava ubacivanje u neutralni stepen.

Čim se izabere neka brzina i bubanj se okrene za nekoliko stepeni, klip se vraća u prvobitni položaj, kuglice ponovo upadaju u svoj žleb, a čaura kojom upravlja palčani prekidač vraća se nazad i sprečava njihovo ponovno povlačenje.
Klizna čaura može da se aktivira pomoću sajle (najjednostavnije i najverovatnije rešenje), hidrauličkog sistema ili solenoida. Ceo sistem blokade sastoji se od svega 12 delova, što ga čini jednostavnim i jeftinim za proizvodnju, uz mali rizik od kvara.

S obzirom na to da su se brojne inovacije, koje su tokom godina debitovale na Ducatijevim homologacionim superbajkovima oznake „R“, kasnije direktno prenosile na standardne modele, pa čak i na niže pozicionirane motocikle u ponudi, lako je pretpostaviti da bi DRG-šema menjanja brzina, zajedno sa sistemom DNL neophodnim za bezbedno korišćenje, mogla uskoro da se pojavi i na serijskom Panigaleu.
MotoRepublika
(1205)
Svaki sledeći motocikl koji Ducati predstavi je sve bolji.Završna obrada dovedena je do perfekcije.