GM zaštitio patent novog dvotaktnog motora
Dvotaktni motor je najefikasniji klipni motor. U praksi ga muče gubici pri ispiranju i upravljanje gasovima. Novim patentom se rešavaju ti problemi, barem teorijski.
Ima mnogo smisla raditi na daljem razvoju dvotaktnog motora. On spaja efikasnu konstrukciju klipnog motora sa prednošću da proizvodi obrtni moment dvostruko češće nego četvorotaktni motor. Ali to ima i mane: pošto motor sagoreva pri svakom obrtaju, cilindar je uvek istovremeno ispunjen izduvnim i svežim gasovima. Novim patentom je ponuđeno rešenje ovog problema veoma starom tehnikom uz dodati kompresor.

Koliko god dvotaktni motor bio genijalan, toliko ima i problema. Bez obzira na konstrukciju, mane ostaju, jer je osnovni princip motora izvor svih teškoća, tj. takozvani gubici ispiranja. Oni nastaju pri prelasku iz izduvnih u sveže gasove, jer su oba prisutna u cilindru na kraju drugog takta. Pošto uobičajene konstrukcije kod motocikala koriste poprečno ili obrtno ispiranje i nužno rade s mešavinom benzin–ulje, benzin i ulje završavaju u izduvu i povećavaju emisije štetnih materija.
Usput, mali dvotaktni motori poznati iz motocikala zahtevaju mešavinu benzina i ulja za podmazivanje radilice, jer se prethodna kompresija mešavine stvara u kućištu radilice.

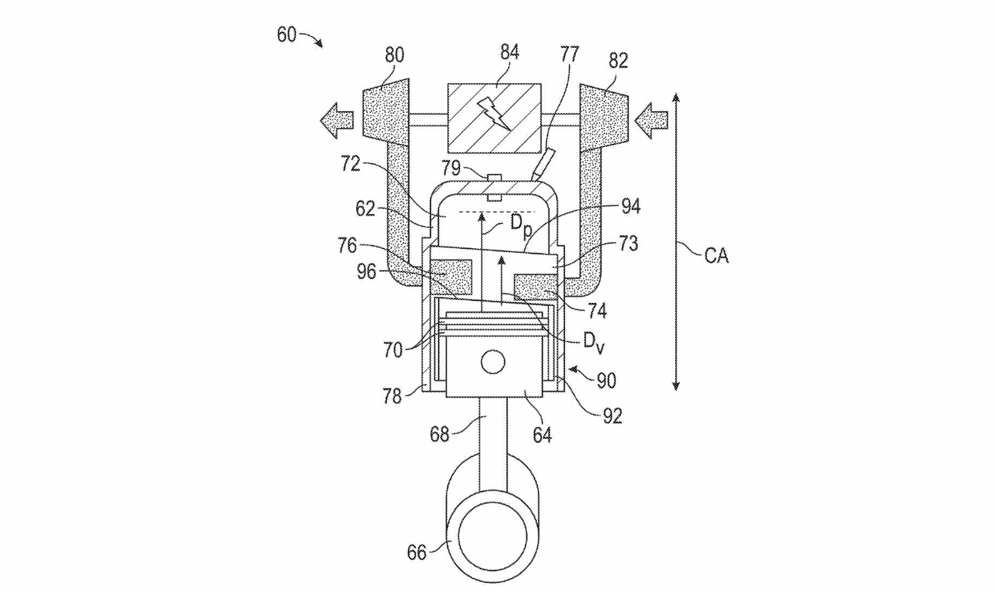
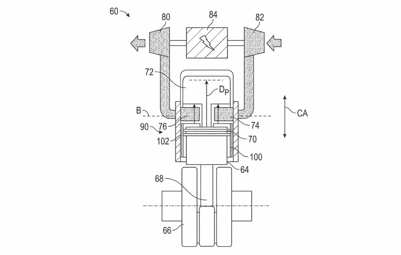
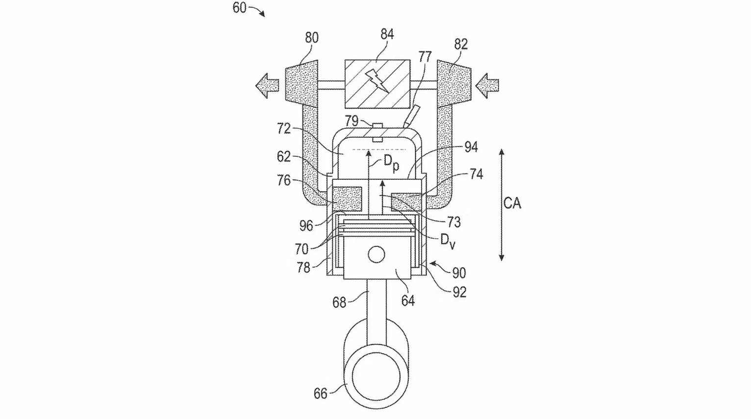
Patent kompanije GM želi da spreči ove gubitke ispiranja, ne zahteva prethodnu kompresiju u kućištu i čak može da se odrekne klasičnog upravljanja ventilima. Izum opisuje elektronski upravljani klizni sistem koji zaptiva komoru za sagorevanje između izmena punjenja. Ove klizne čaure nisu nova ideja, već jedna od najstarijih vrsta upravljanja gasovima u klipnim motorima. Poznate su kao Knight-motor u ranim Mercedesima ili sistem Burt–McCollum primenjen u zvezdastim motorima tridesetih i četrdesetih.
Zajedničko njima i GM-ovoj modernoj verziji: koaksijalno sa hodom klipa pomera se čaura oko cilindra koja zatvara usisne i izduvne kanale nakon ispiranja i zaptiva komoru za sagorevanje. Dok je početkom prve decenije prošloga veka čauru pokretao mehanizam povezan s radilicom, GM to danas pojednostavljuje elektromehaničkim aktuatorom, praktično elektromotorom koji pomera čauru.

Veliki dvotaktni motori, poput brodskih ili industrijskih dizela, skoro nikad nisu imali prethodnu kompresiju u kućištu, jer rade na dizel. Ali da bi u cilindar ušlo dovoljno vazduha, takvi motori obavezno koriste kompresore. Isto važi i za GM-ov koncept. Električni kompresor sabija svež vazduh i stvara nadpritisak u cilindru. Tek neposredno pre gornje mrtve tačke motor ubrizgava benzin direktno u komoru, dakle radi se o direktnom ubrizgavanju. Svećica pali smešu.
Prednosti: u trenutku ispiranja u cilindru nema goriva. Pošto u gasovima nema ni ulja, izduv ostaje čist. Mana: izduvni gasovi se pri ispiranja i dalje mešaju sa komprimovanim usisnim vazduhom, pa raspoloživi vazduh za sagorevanje nikad nije potpuno konstantan. GM bi morao koristiti senzore da bi obezbedio tačan stehiometrijski odnos.
Veoma zanimljivo u patentu je kombinovanje kompresora i turbine u jednoj jedinici. Pri niskim obrtajima elektromotor pokreće spiralni kompresor. Od određene brzine, kompresor prelazi u turbo režim, jer izduvni kanal takođe ima radno kolo koje se pri visokom pritisku i brzom protoku pokreće isključivo izduvnim gasovima. Tako motor može raditi i kao generator struje ili u hibridnom režimu kada padne pritisak izduva.

Ideja GM-a da dvotaktni motor upravlja kliznom čaurom, eliminiše gubitke pri podmazivanju i kombinuje turbo i kompresor je izuzetno zanimljiva. Nekada su te čaure bile ogromne, sa teškim mehanizmima; danas bi GM mogao da ih napravi manjim i da uz elektronsko upravljanje čak optimizuje vrtloženje gasa u cilindru prema opterećenju, delimičnim otvaranjem kanala. Ali patent ne daje odgovor na 125 godina star problem podmazivanja čaure. Sa ovim su se mučili već pioniri tehnike, kao i Mercedesovi kupci čiji su motori otkazivali.
Ako GM podmazuje čauru uljem, ipak će nešto ulja kroz kliznu površinu završiti u komori za sagorevanje. Takođe, klipni prstenovi prelaze preko ivica kanala pri svakom hodu, što može povećati habanje.
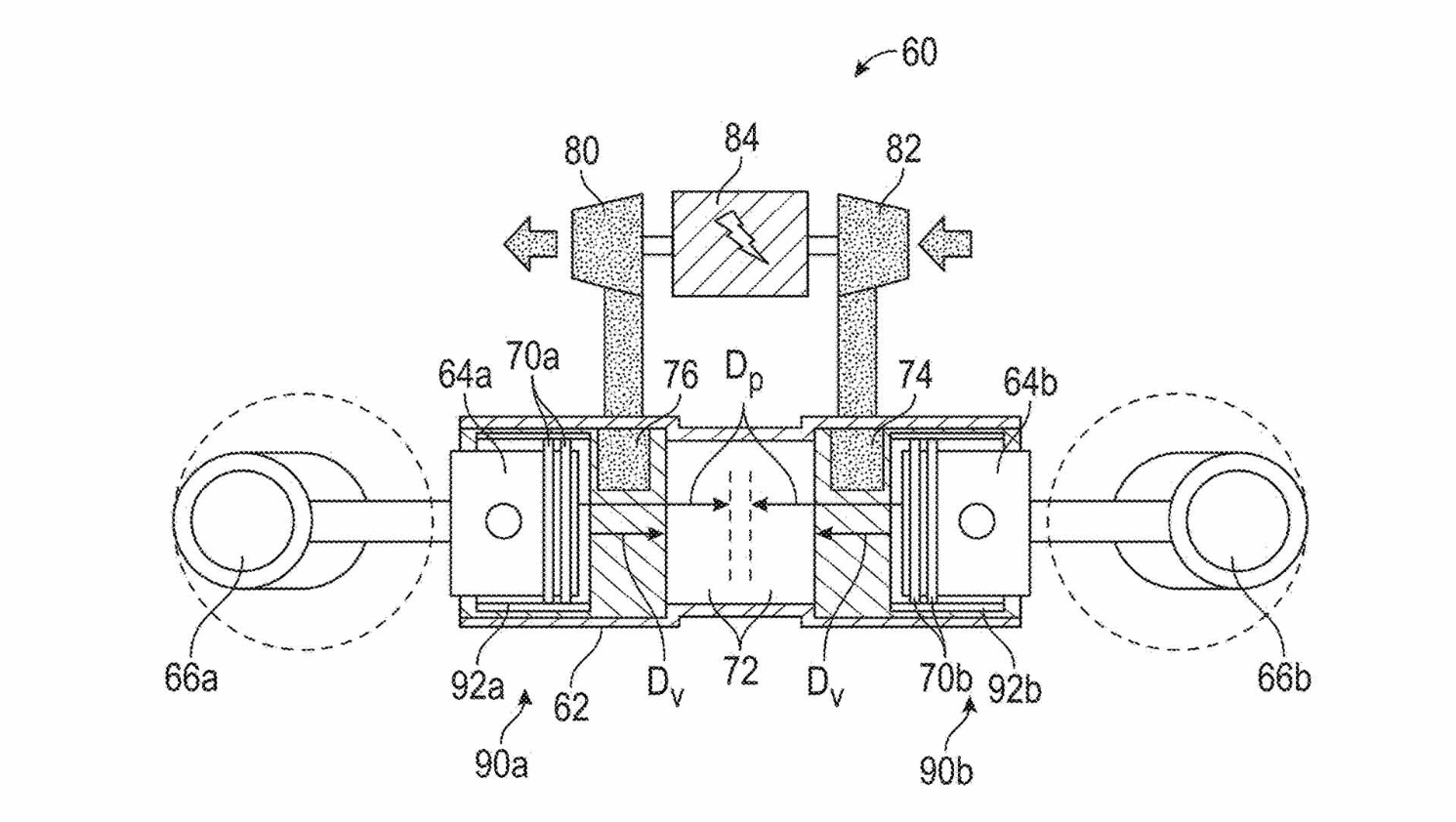
Uprkos entuzijazmu oko dvotaktnog motora s turbinom i kompresorom: GM nije izmislio motor visokih performansi. Iako zvuči primamljivo ugraditi ga kao jednocilindrični motor u motocikl, GM je proizvođač automobila i motor (ako ikada uđe u proizvodnju) nije namenjen ničemu drugom. Štaviše, zamišljen je u neuobičajenoj izvedbi s protivklipnom konfiguracijom i dve radilice.
Cilj cele ideje: kao range extender, dvotaktni motor bi proizvodio struju za punjenje pogonske baterije. Pogon vozila bi i dalje bio potpuno električan.
MotoRepublika
(255)
„Patent kompanije GM želi da spreči ove gubitke ispiranja, ne zahteva prethodnu kompresiju u kućištu i čak može da se odrekne klasičnog upravljanja VENTILIMA.“
Izgleda da sam spavao neki dosta dug zimski san … Koji „ventili“ kod dvotaktaša ?
GM dvotaktni dizeli imaju ventile ali mislim samo izduvne.
Što se braćo Amerikanci trudite da nešto poboljšate. Ovde kod nas, Ursula diktira sve. To je generalni direktor patentnih prava. U slučaju da i pronađete pravo rešenje, sledi vam blokada i ograničenja kroz zakonske norme evropske unije. Ovde samo „fašistička rešenja“ mogu da prođu. Odobrena i verifikovana od EU i sprovedena od svih podčinjenih vlada država članica.
Što Hitler ne završi u drugom svetskom ratu, završi Angela Merkel sa svojom nemačkom auto industrijom!
Angela Merkel je radila u Ruse.Shtaasi istureno odeljenje.