Yamaha patentirala tendu za lična plovna vozila
Kompanija Yamaha razvila je inovativno rešenje za jedan od čestih problema korisnika ličnih plovnih vozila (PWC) – izloženost suncu. Naime, japanski proizvođač je patentirao ručno upravljanu tendu namenjenu svojim modelima, koja omogućava korisnicima da se zaštite od direktnih sunčevih zraka prilikom boravka na vodi.
Za razliku od čamaca koji često imaju krovove ili suncobrane, PWC obično ne nude nikakvu zaštitu od sunca, što predstavlja problem za korisnike koji žele da se zaustave, odmore, pecaju ili jednostavno provedu više vremena na vodi. Yamaha je, prema dokumentaciji otkrivenoj od strane portala RideApart, osmislila sistem koji pretvara PWC u neku vrstu plutajuće kabane.

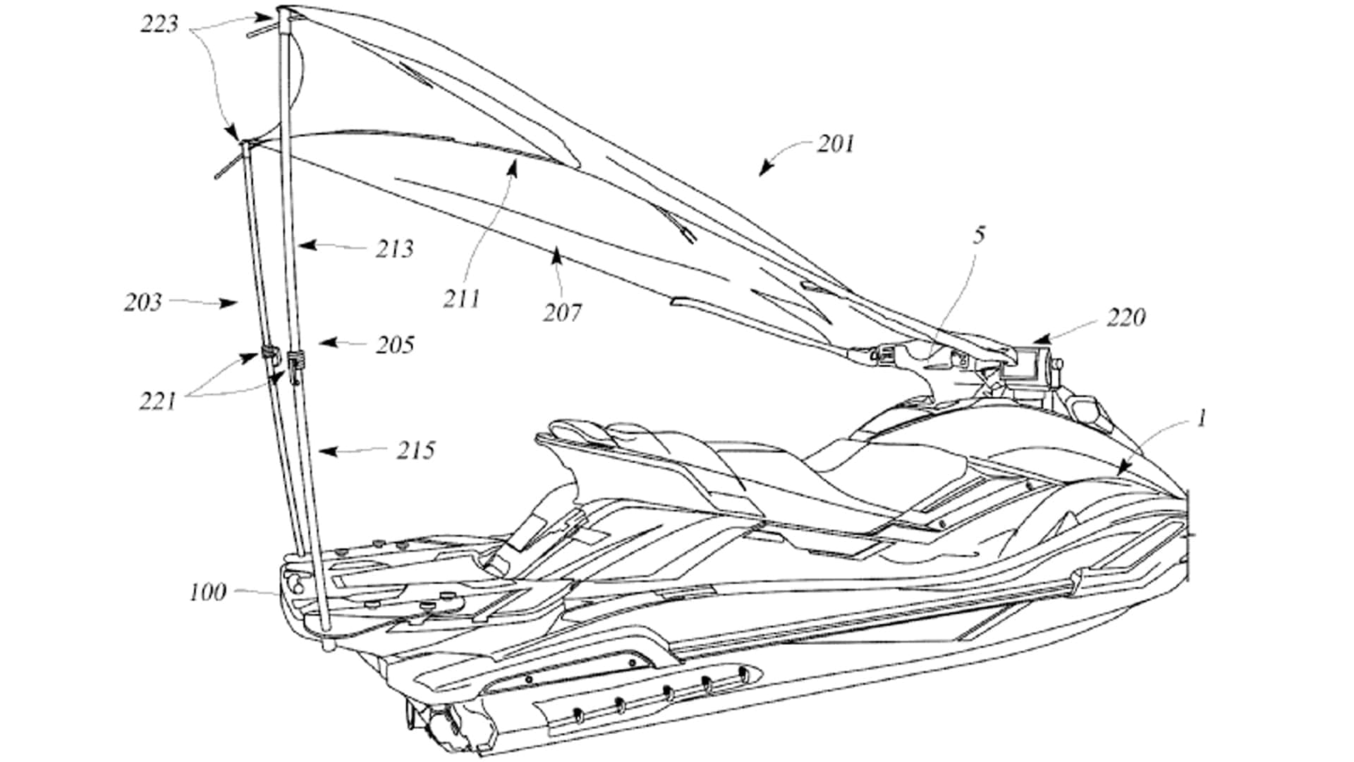
Patent opisuje tendu koja se postavlja između dva bočna stuba na zadnjem delu vozila i upravljača, stvarajući natkriveni prostor za zaklon od sunca. Konstrukcija je sklopiva – stubovi se uvlače u sebe, a cerada i prateći elementi mogu da se odlože unutar samog vozila bez značajnog gubitka prostora za skladištenje.
Prema opisu iz patenta, cilj rešenja je da korisnicima pruži jednostavnu i efikasnu zaštitu od štetnog UV zračenja, bez uticaja na performanse ili upravljivost plovila. Inicijativa dolazi kao odgovor na višegodišnje žalbe korisnika i odsustvo odgovarajućih fabričkih dodataka za ovu namenu.
Yamahina tenda mogla bi biti posebno korisna za ribolovce i one koji koriste PWC vozila za duži boravak na vodi, naročito u toplim letnjim mesecima. Iako se još uvek ne zna kada će proizvod stići na tržište, očekuje se da će izazvati značajno interesovanje među rekreativcima.
MotoRepublika
(80)

