Mazda patentirala novi Wankel motor (GALERIJA)
Mazda ne želi da se odrekne rotacionih motora, naprotiv.
Novi patent koji je zaštitila japanska marka podrazumeva postavljanje rotacionog motora „na bok“, radi boljeg uklapanja u elektrifikovane modele, a služiće kao produživač autonomije. Kompanija je registrovala patent u Japanu, 31. avgusta, a Patentni zavod Japan ga je obelodanio 19. septembra 2018.

Mazdina vizija je da je kompaktni Wankel motor kao stvoren da služi za proširivanje autonomije. Radi boljeg „pakovanja“ u novoj ulozi, agregat je postavljen horizontalno, ispod poda prtljažnika.
Međutim, „problem“ predstavlja to što je rotacionom motoru neophodno ubrizgavanje ulja u komoru za sagorevanje, iz sasvim jasnih razloga. Patent upravo opisuje na koji način su Mazdini inženjeri rešili stvar kada je reč o usmeravanju brizgaljki u ovoj postavci.
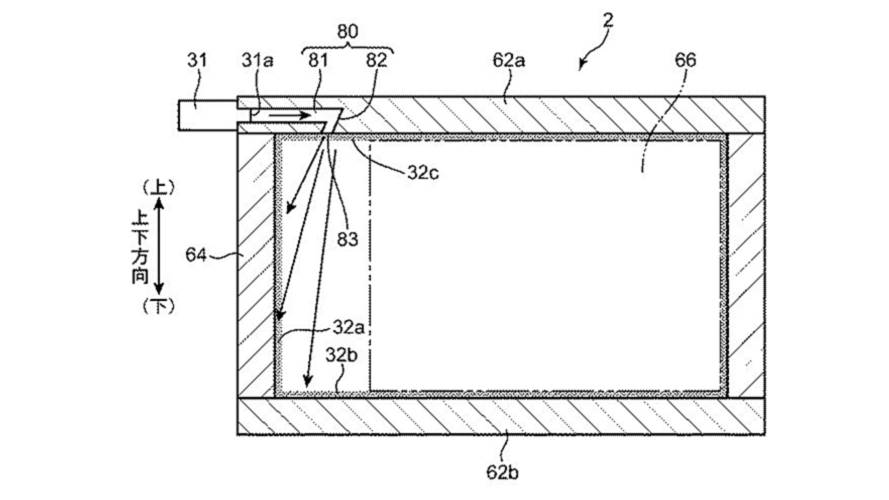
Oni su kreirali kanal u obliku slova „L“ za brizgaljku ulja (stavke 31, 31a, 80, 81 i 82). Iz ove pozicije, podmazivanje se vrši prema dole dijagonalno (stavka 88) i pokriva kompletan unutrašnji zid (stavka 64) komore za sagorevanje, da bi se podmazala ivica rotora u prolazu.

Mazda kaže da je postavljanje uljne brizgaljke na vrh komore i mlaz usmeren prema dole funkcionišu. Međutim, ovakva postavka bi mogla da bi produžila agregat vertikalno, a upravo je to ono što želi da se izbegne, da bi se obezbedila maksimalna zapremina prtljažnika.
Marta ove godine, Martin ten Brink, potpredsednik prodaje i servisa za kupce u Evropi, sugerisao je da će motor biti postavljen što je niže moguće i da će „biti velik poput kutije za cipele“.
Izvor: Japan Patent Office
(4835)












Bolje da su ubacili teslinu turbinu