Ideja je sasvim u redu, ali ono što je interesantno je što je na skečevima F430.
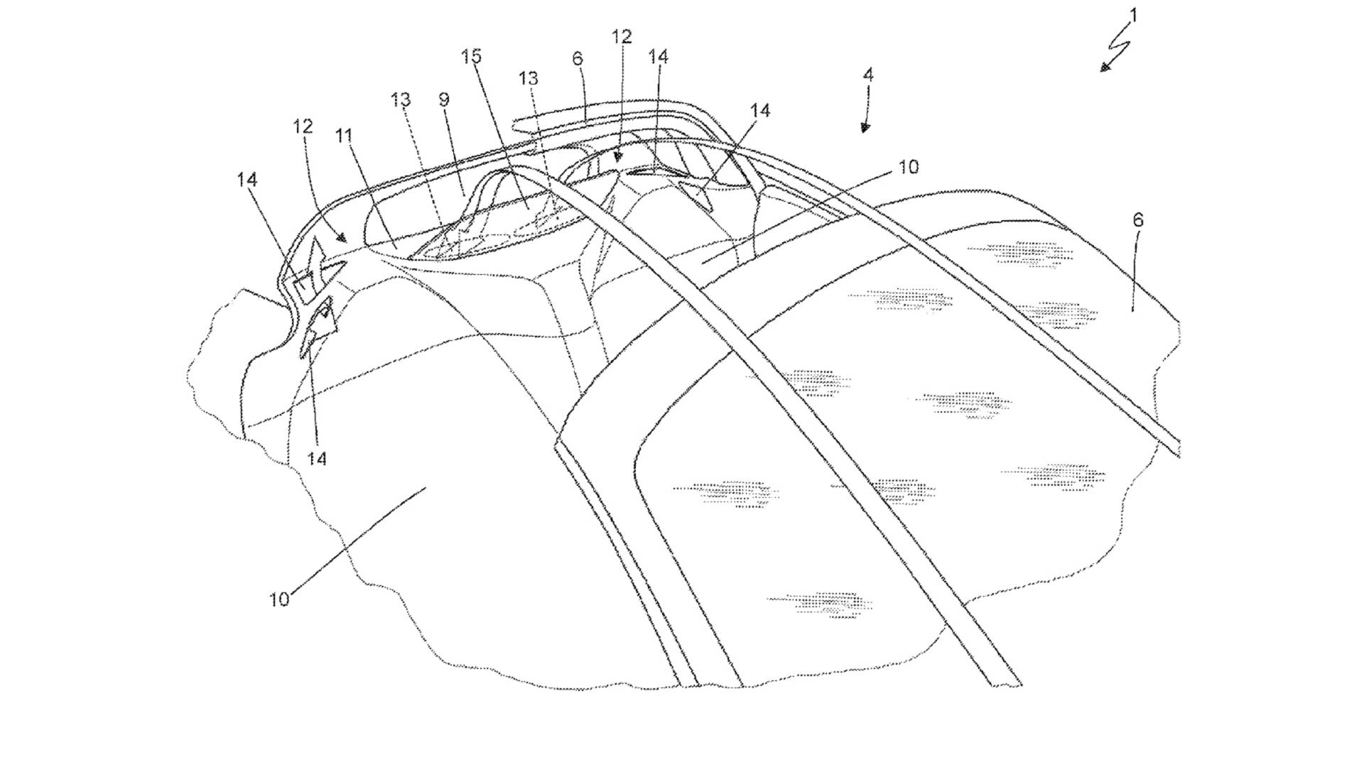
Da li je to targa krov ponovo aktuelna tema u Ferrariju? Italijanski proizvođač je podneo zahtev za patent sistema koji podrazumeva korišćenje serije ventilacionih otvora, a cilj je da kosa „ne leprša“ pri vožnji po „Autostradi“. Otvori su instalirani u zadnju sekciju kokpita.

radi se o tome da mogu da menjaju tok vazduha i preusmeravaju ga sa putnika ka željenom smeru. Na taj način, strujanje vazduha preko krova neće skretati ka „frizerskim umetničkim delima“. Naravno, pravim entuzijastima to uopšte ne bi smetalo, ali treba da imamo u vidu kakva je klijentela Ferrarija…
Treba naglasiti da Ferrari ovaj patent veže isključivo za targa krov, ne i kabriolete, kod kojih se ovaj problem lako rešava deflektorima iza sedišta. Pored toga, specifičan dizajn i pozicija sistema ventiliranja može da zavisi od brojnih faktora.
Ovde se postavlja pitanje, šta bi patent mogao da znači za buduće Ferrarijeve modele? Automobili poput 308 i 328 su čuveni po svojim krovovima, ali ne može se reći da je Ferrari odbacio ovaj dizajn. Ultraekskluzivni J50 baziran na 488 se tehnički uklapa u kategoriju, ali ruku na srce, ne može se nazvati „masovnim“ proizvodom. Dodatno, činjenica da je na skeču 10 godina star F430, sugeriše da bi razvoj mogao da bude u završnoj fazi, pa možda i budemo svedoci nekog novog targa modela iz Ferrarija.
(464)